
wHAT IS TERAFOCS?
TERAFOCS IS A portable all fiber optic HIGH FREQUENCY CURRENT SENSOR INTERROGATOR MODULE FEATURING TERABIT wavefront event DETECTION RESOLUTION FOR OPTICAL partial discharge testing DURING neta-prescribed OFFLINE VLF OVERPOTENTIAL TESTING!
order your opticampere terafocs today!
contact: sales@opticampere.com
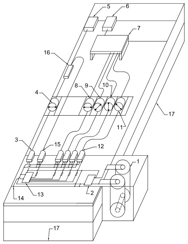
1) Battery Cells
2) Voltage Regulator Chip
3) Singlemode Fiber Coupled Laser (1310 nm)
4) All-Fiber Linear Polarizer: Generator
5) PM Aligning Module Bulkhead Adapter (TX Port)
6) Module Bulkhead Adapter (RX Port)
7) 1X4 Polarization Maintaining Star Coupler
8 -11) All-Fiber Linear Polarizers: Analyzer
12) Fiber-Coupled Photodiodes
13) DSP Chip w/ Integrated Single-Ended A-D Inputs
14) HMI Screen
15) Generator Sampling Fiber-Coupled Photodiode
16) 1X2 Polarization Maintaining Coupler
17) ESD Module with Integrated Splice Trays for All-Fiber Polarizers